Une SmartCover avec écran dans une demande de brevet d’Apple
Possesseur d’iPad, c’est certain
vous connaissez la SmartCover. Astucieuse et pratique, personnellement, je
n’imagine pas mon iPad sans sa SmartCover.
Si l’on en croit un brevet déposé par Apple il y tout juste un an,
la SmartCover n’a pas fini de nous surprendre et Apple envisagerait
d’en faire un écran secondaire pour l’iPad :
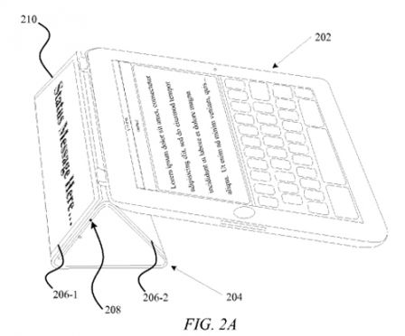
Selon les croquis, on peut voir que la Smarcover pourrait être dotée
d’un écran flexible sans que la change son aspect global.
L’alimentation de ce deuxième écran serait faite via la charnière et un
connecteur du type de celui qui équipe les MacBook. Ainsi la
SmartCover continuerait à être fixée à l’iPad grâce à un aimant.

Cet écran déporté pourrait avoir différentes fonctions comme un
clavier tactile, ou encore un espace pour dessiner. En mode vidéo,
cette SmartCover pourrait même permettre de contrôler la lecture.



Ironiquement, la société la plus avancée dans la conception d’écran flexible
est Samsung cependant, ce ne serait pas la première fois que les deux sociétés
travailleraient ensemble.
Je ne sais pas vous, mais moi j’adore. Espérons que ce brevet devienne un
jour une réalité !
